DZZ2型温度雨量自动站主要由温度传感器、雨量计和数据采集器等组成,观测的气象要素有:气温、雨量和地温(地表温、浅层地温、深层地温),数据的业务处理完全符合气象业务观测要求。

SL3-1翻斗式雨量传感器使用气象台(站)、水文测站、农、林业等有关部门用以测量液体降水量、降水强度,仪器感应器用二芯电缆连接,输出机械触点信号。
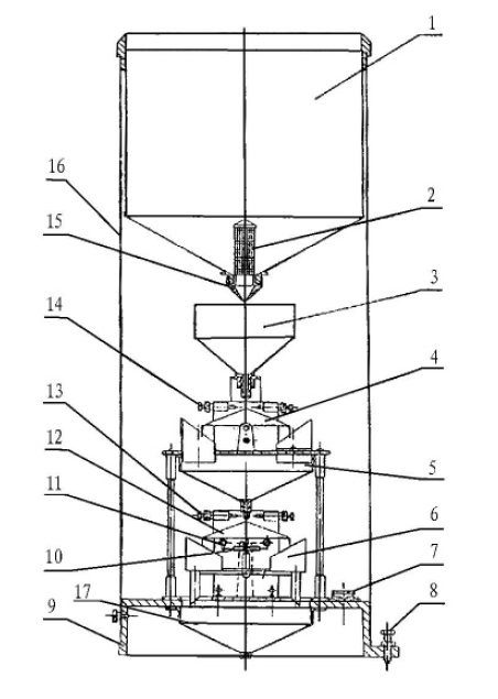
SL3-1型雨量传感器结构
注释:1.承水器;2.网罩;3.漏斗;4.上翻斗;5.汇集漏斗;6.计数漏斗;7.水平泡;8.调整六角螺钉;9.底盘;10.干簧管;11.红黑接线柱;12.计量翻斗;13.容量调节螺钉;14.定位螺钉;15.清洗拆御帽;16.筒身;17.排水漏斗;
工作原理
雨水进入承水口,经过漏斗流入上翻斗。上翻斗承积一定水量(<0.1mm)时,发生翻转,经汇集漏斗和节流管注入计量翻斗,把不同强度的自然降水调节为比较均匀的中等强度降水。计量翻斗翻动一次为0.1mm 降水量,随之雨水由计量翻斗进入记数翻斗。在记数翻斗中部装有一块小磁钢,磁钢的上面装有干簧开关,记数翻斗翻转一次,干簧管开关闭合一次,产生一个脉冲信号。脉冲信号送至采集器中的计数器进行计数,每个计数为0.1mm 降水量。
主要技术参数
| 承水口径
|
200mm
|
环境温度
|
0~60℃
|
| 降水强度
|
<4mm/min
|
分辨率
|
0.1mm
|
| 测量范围
|
0~999.9mm
|
输出信号脉冲
|
0.1mm
|
最大允许误差:± 0.4 mm ( ≤10mm) 、± 4mm( > 10 mm)。